(原标题:哪吒汽车正式被申请破产,企查查显示其本月已被冻结超10亿股权)

图片来源于网络,如有侵权,请联系删除
企查查APP显示,哪吒汽车关联公司即合众新能源汽车股份有限公司被申请破产一案更新,6月19日新增破产案件,管理人机构为浙江子城律师事务所,经办法院为浙江省嘉兴市中级人民法院。此前,申请人上海禹形广告有限公司已对该公司提出过破产审查。
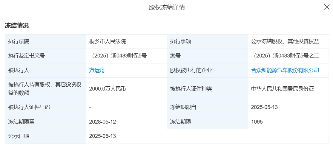
此外,该公司本月以来新增4条股权冻结信息,其所持哪吒新能源汽车制造有限公司10亿股权、桐乡合众汽车销售有限公司1000万股权等被冻结。

图片来源于网络,如有侵权,请联系删除

图片来源于网络,如有侵权,请联系删除
